會議報告可以讓你監察CINNOX服務內所有的電話會議。它提供的資料,讓你瞭解電話會議服務的使用情況和表現,並亦可以提高組織內聯繫的效率和其帶來的生產力。
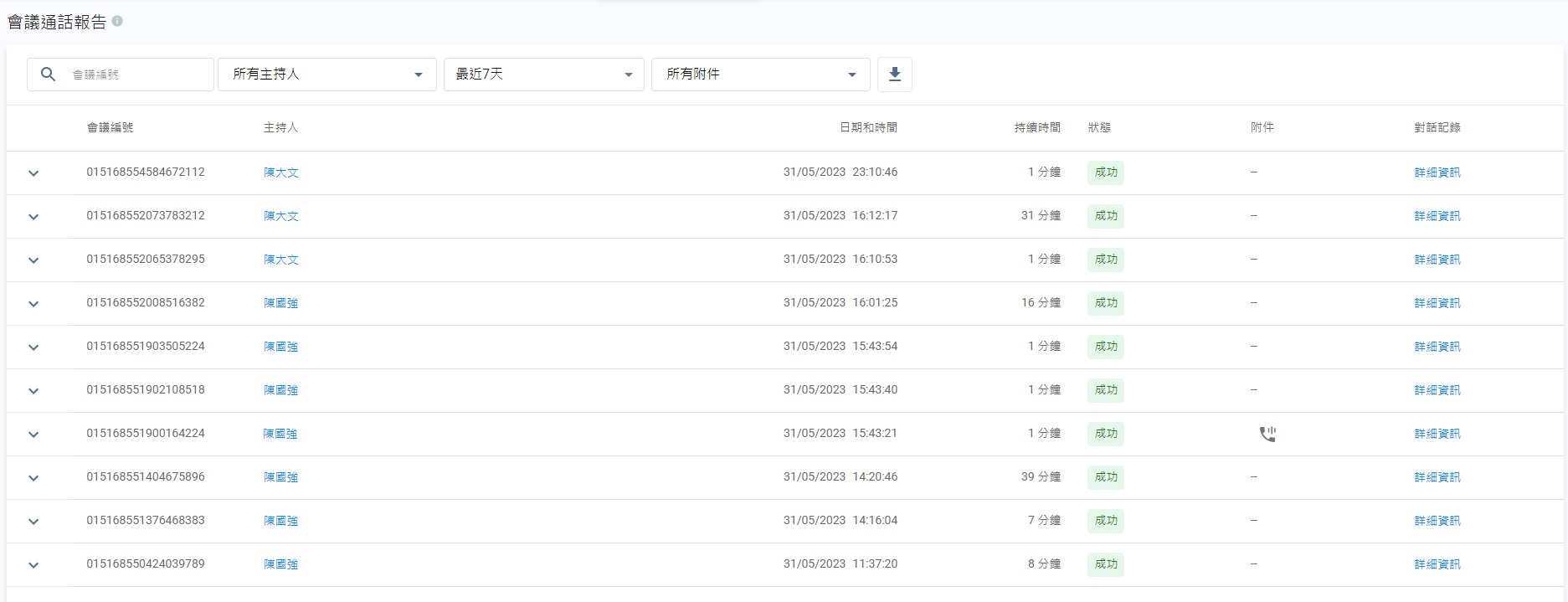
要查看會議報告,請導航到報告>會議通話報告。
要查看會議報告,請導航到報告>會議通話報告。
你可以根據以下篩選條件,篩選會議通話報告的內容:
| 篩選條件 | 描述 |
|---|---|
| 主持人 | 選擇會議主持人。預設為所有主持人。 |
| 日期和時間 | 選擇會議日期,亦可自訂會議日期和時間。預設為最近7天。 |
| 附件 | 選擇會議附件,例如:有通話錄音(通話錄音和語音轉錄),以及沒有附件。預設為有所有附件。 |
| 欄目名稱 | 描述 |
|---|---|
| 會議編號 | 為每個會議分配一個不會重復以及自動生成的編號。 |
| 主持人 | 開始會議的員工姓名。 |
| 日期和時間 | 會議開始的日期和時間。 |
| 持續時間 | 列出會議持續的時間。 |
| 狀態 | 顯示會議是否連接成功。 |
| 附件 | 會議的通話錄音和語音轉錄。 |
| 對話記錄 | 會議期間參與者的聊天訊息。 |

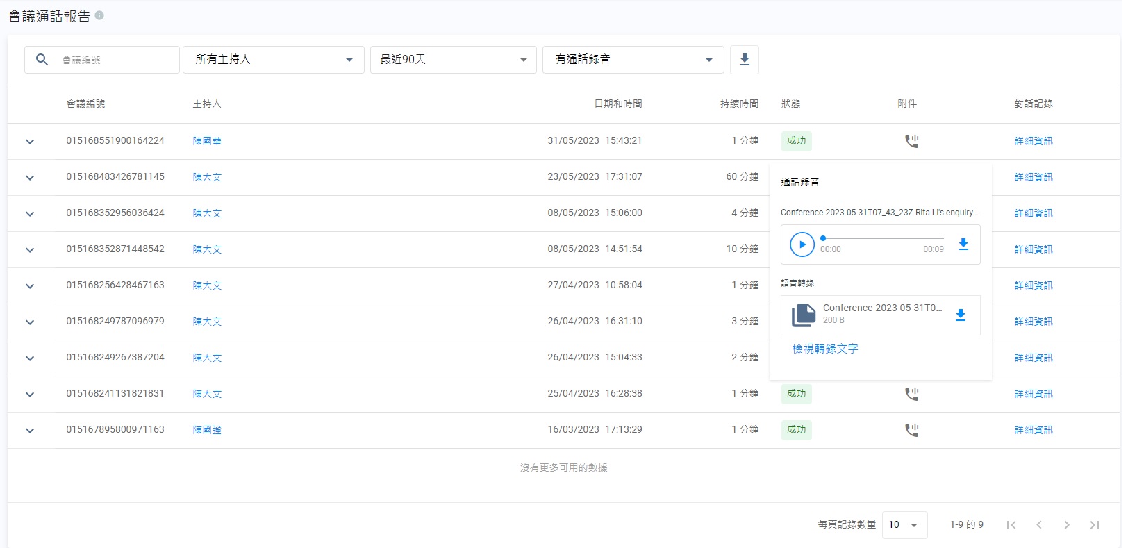
在會議報告的附件欄目中:

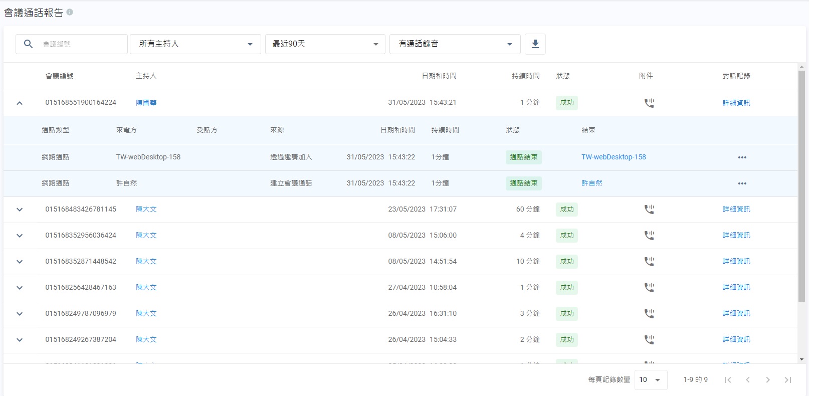
要查看會議通話的細項,請點擊向下箭頭,以展開會議通話的詳細資料,包括:參與者的來源和會議的持續時間。

你可以下載會議通話報告詳情和會議通話錄音檔案。下載文件有兩種選擇:
A. 下載報告詳情 - 此選項以excel (XLS)檔案格式,下載所有通話會議記錄。
B. 下載當前頁面的錄音檔 - 此選項以zip文件的形式,下載當前頁面上的聊天記錄。每個錄音都將以MP3檔案格式下載。
📘
每頁最多只能顯示25項記錄。
要下載檔案:


Updated 5 months ago