菜单

智慧撥號

智慧撥號屬CINNOX自動撥號功能,能在每一個通話完成後,自動逐一撥打下一個電話號碼。此功能可使用於電話樹(Call Tree),或作營銷活動的一部份,外撥電話予目標客戶。

有了智慧撥號功能後,你無須記著長長的電話號碼名單,專心蒐集客戶的資料,多作互動。

📘

必須具備以下條件方可使用智慧撥號

新增工作

建立新增工作:
導航至營銷活動>智慧撥號,之後點擊頁面右上角的新增工作按鈕。

1652
16.PNG

智慧撥號主頁

  • 彈出式視窗顯示工作名稱,在此輸入是次工作的名稱。
  • 在來電顯示欄上,從下拉式清單,選擇用作來電顯示的電話號碼。
建立工作

建立工作

  • 點擊CSVXLSX下載CSV範例模版或XLSX檔案。
建立工作

建立工作

  • 打開試算表模版,當中包括4欄目,刪除第1序列的範例。
建立工作

建立工作

  • 分別在欄目輸入客戶的名字、姓氏、手提電話號碼和電郵地址。
  • 留意手提電話號碼為必須輸入的資料。電話號碼需跟據以下格式輸入:國家碼+地區碼+電話號碼。
510
smart-calling-04.png

建立工作

  • 完成輸入所有欄目的資料後,儲存檔案,並用拖曳形式,上載檔案到彈出式視窗的指定位置。CINNOX會檢查上載的檔案,如發現記錄出錯,會建立錯誤日誌。
  • 你亦可點擊瀏覽,選擇檔案位置,上載檔案。
開始工作

開始工作

  • 點擊建立按鈕後,彈出式視窗顯示,「你是否想立即開始工作?」
  • 如要立即開始工作,可點擊開始撥號按鈕。CINNOX會即時在控制面板打開通話螢幕,開始撥號。此時,工作狀態為「進行中」,顯示在智慧撥號名單上。
  • 如想稍後開始工作,可點擊取消按鈕。此時,工作狀態為「已安排」,顯示在智慧撥號名單上。
開始工作

開始工作

處理無效的記錄

  • 在彈出式視窗中,點擊下載按鈕下載名為error.csverror.xlsx的錯誤日誌。
無效的記錄

無效的記錄

  • 點擊取消按鈕關閉彈出式視窗。
  • 打開錯誤日誌,在最後的欄目,查看錯誤資料。每項錯誤記錄均顯示原因。
480
smart-calling-09.png

處理無效的記錄

  • 回到你的試算表,找出錯誤記錄的位置,並修改記錄。
  • 回到CINNOX控制面板,用拖曳形式,上載更新後的試算表到彈出式視窗。系統會再次檢查上載的試算表。如發現無效的記錄,會再次建立錯誤日誌。
  • 你亦可點擊瀏覽,選擇檔案位置,上載檔案。
  • 如意外關掉彈出式視窗,在頁面右上角,再次點擊建立新工作按鈕。

如何處理CSV檔案的分隔文字

使用逗號(,)分隔文字是CSV檔案的功能。檔案上載後,當輸入檔案的文字含有逗號,文字就會分隔到另一行。

CSV檔案的分隔文字

例如:當你輸入大, 文First name,檔案顯示如下:

檔案上載後,文字會分隔如下圖般:

First name欄裡的大,文含有逗號。於是,文字分隔成兩行,First name欄,而則在Last name欄。

防止文字分隔

  • 使用文字編輯器

在含有逗號的文字加上開雙引號(“”),例如:"大,文" ,並將其檔案儲存為CSV檔案上載。

  • 使用試算表或樣式表編輯器(Style Sheet Editor)

以文字格式輸入文字。

以CSV URF-8 (逗號分隔) (*.csv) 格式儲存檔案。

雙引號(Double quote)自動加到檔案內。

查看工作狀態

查看所有通話工作:

  • 導航至營銷活動>智慧撥號

智慧撥號頁顯示以下資料:

  • 工作名稱
  • 建立者
  • 來電顯示
  • 成功/失敗/取消通話的次數
  • 狀態
  • 最後更新日期
智慧撥號工作狀態

智慧撥號工作狀態

一項工作有以下多個狀態。狀態指的是撥打工作,與撥打成功與否無關。

工作狀態 解釋
未開始 工作尚未開始。
進行中 工作已經開始,開始撥打通話名單中的電話號碼。
已暫停 工作已經開始但暫停。如重新進行暫停的工作,工作狀態會變成進行中。
已取消 工作永久停止。通話名單中餘下的電話號碼,不再撥打。
完成 完成撥打通話名單中的所有電話號碼。

暫停和恢復暫停的工作

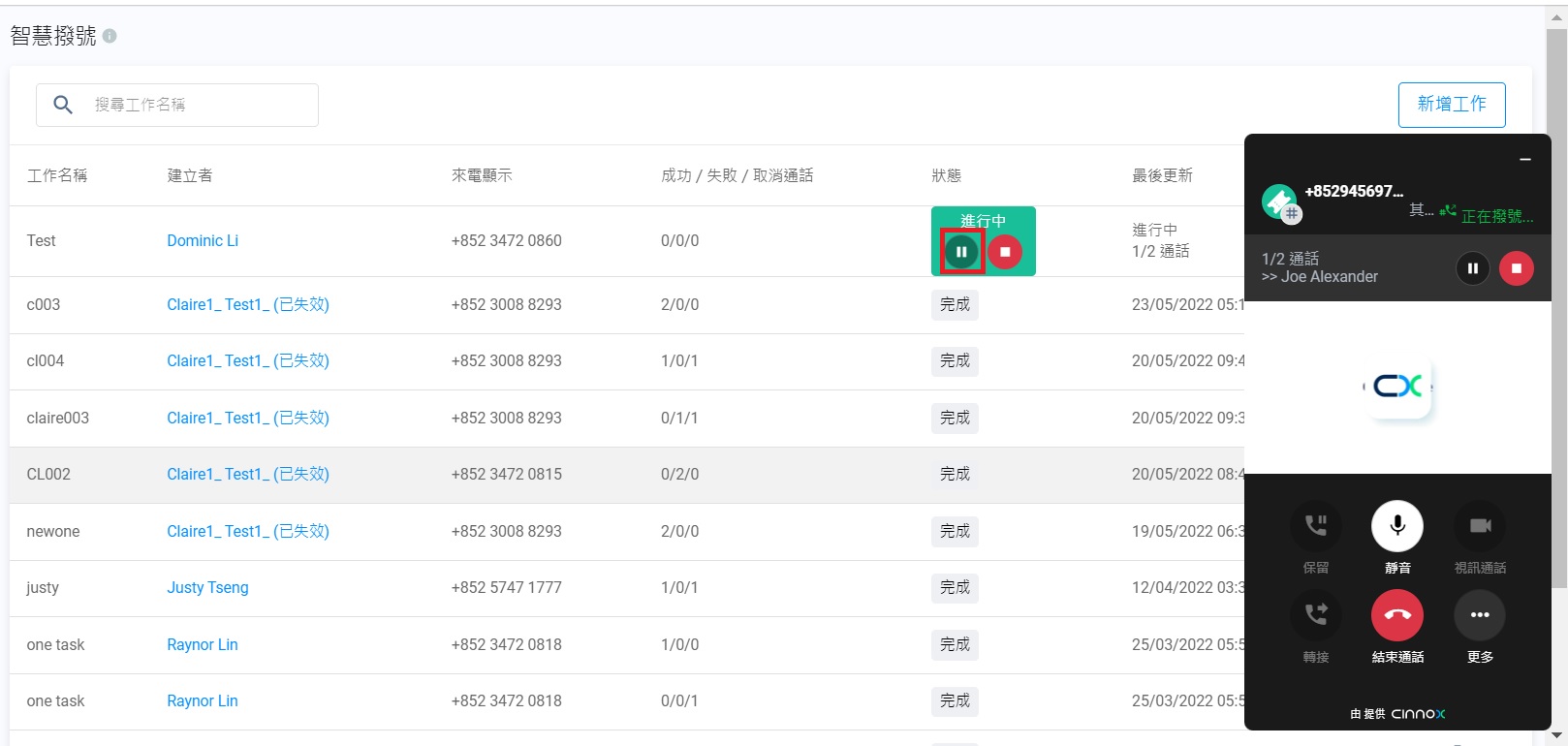
暫停工作:

  • 導航至營銷活動 > 智慧撥號
  • 智慧撥號頁面,找出你想暫停的工作。點擊狀態旁的暫停按鈕( ) 。彈出式訊息會顯示你是否確定暫停工作。
暫停通話工作

暫停通話工作

  • 點擊確定按鈕。工作狀態會顯示為暫停
暫停通話工作

暫停通話工作

重新進行工作:

  • 導航至營銷活動>智慧撥號
  • 智慧撥號頁面,找出你想重新進行而暫停了的工作。點擊狀態旁的恢復按鈕( )。彈出式訊息會顯示你是否確認重新進行工作。
  • 點擊確認按鈕。工作狀態會顯示為進行中
重新進行工作

重新進行工作

終止工作

停止或取消工作:

  • 導航至營銷活動>智慧撥號
  • 智慧撥號頁面,找出你想停止的工作。點擊狀態旁的停止鍵 ( ) 。彈出式訊息會顯示你是否確定停止工作。
停止工作

停止工作

  • 點擊確定。工作狀態會顯示為停止
停止工作

停止工作

查看和下載通話報告

你可以查看通話報告,或下載通話記錄試算表,從而獲得更多成功、失敗或取消通話的資料。

查看通話報告:

  • 導航至營銷活動>智慧撥號
  • 智慧撥號頁面,找出你想查看的通話報告。點擊**更多(...)**點擊。
  • 點擊通話報告 ,你會被轉到通話報告頁面。
1653
17.PNG

查看通話報告

下載通話報告:

  • 導航至營銷活動>智慧撥號
  • 智慧撥號頁面,找出你想查看的通話資料。點擊下載圖標。
1653
18.PNG

下載通話報告

  • 點擊以下任何選項:
    • 下載所有通話。
    • 下載成功的所有通話。
    • 下載失敗的通話。
    • 下載取消的通話。
1912
19.PNG

查看通話報告

  • CINNOX會下載選擇了的記錄,並將之以CSV檔,儲存到預設下載的資料夾內。

Updated 5 months ago


上一个
通話轉移
下一个
轉接通話
最近修改: 2025-12-04