通話報告記錄了,所有員工和訪客進出網內(On-net)和網外(Off-net)的通話。你可以根據所選擇的時段,查看分析和指標,對進出的通話有快速了解。
要查看通話報告,導航到報告>通話報告。
總覽部份包括:通話成功率分析和通話時間分析以及篩選器,例如:
以下指標顯示,板塊以及相關的棒形圖和折線圖。
通話總數
通話總數板塊顯示,在既定時間內嘗試通話的總數。
在引用的螢幕截圖中,最近30天嘗試通話的總數為4055次。
來電的接聽總數
來電的接聽總數板塊顯示,在既定時間內的來電接聽總數。已接聽的來電包括:結束和掛斷已接通的來電,以及客服和系統接聽的來電。更多詳細資料,請查看通話狀態(指標)。
在引用的螢幕截圖中,最近30天來電的接聽總數為2837次。
應答率(ASR)
ASR是指成功連接通話,佔嘗試通話次數的百分比(亦可稱為通話完成率)。
公式:
ASR % =(來電的接聽總數/通話總數)×100。
在引用的螢幕截圖中,最近30天的ASR為70%。

📘
要列印通話報告中概覽部份的圖表和數據,請點擊位於頁面頂部中間的列印圖標。
以下指標顯示,以板塊以及相關的棒形圖和折線圖。
總通話時間
總通話時間板塊顯示,在既定時間內的總通話時間。
在引用的螢幕截圖中,最近30天的總通話時間為191分鐘。
成功通話總數
成功通話總數板塊顯示,在既定時間內的成功通話總數。
在引用的螢幕截圖中,最近30天的成功通話總數為207次。
平均通話時間 (ACD)
ACD是電話服務供應商使用的質量指標,指的是通過網絡,接聽通話的平均時間。
公式:
ACD = 總通話時間/成功通話總數。
在引用的螢幕截圖中,最近7天的平均通話時間為0.9分鐘(四捨五入)。

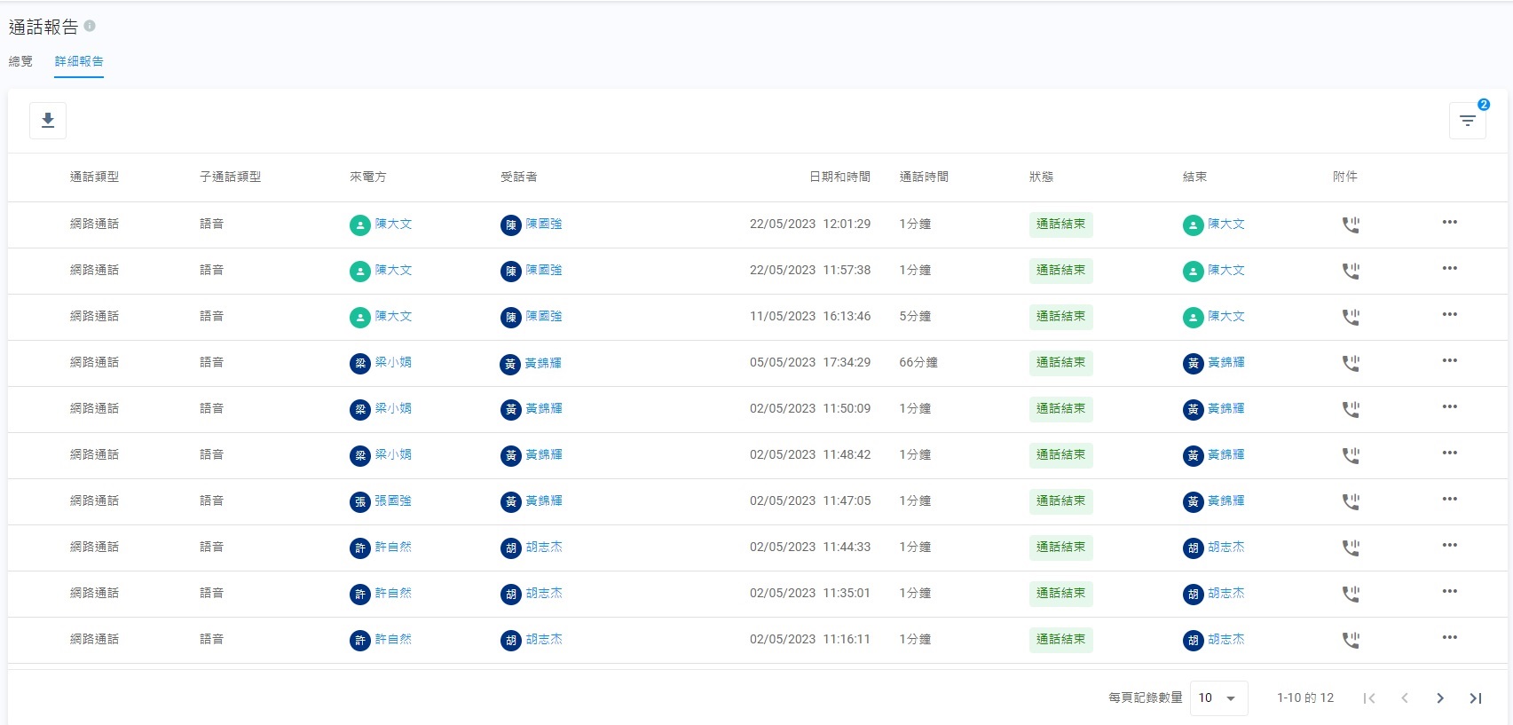
CINNOX的通話詳細報告,會根據你的通話,提供實時通話指標和屬性。每個通話記錄的必須資料,它都能提供。
本部份列出和定義了所有CINNOX通話的屬性。
| 屬性 | 定義 |
|---|---|
| 通話類型 | 網路通話、網外通話或智慧撥號。 |
| 子通話類型 | 語音和視訊。 |
| 來電方 | 發出通話者。 |
| 受話者 | 接收通話者。 |
| 日期和時間 | 通話日期和時間。 |
| 通話時間 | 通話進行的時間。 |
| 狀態 | 通話情況或通話結束的原因,如沒有回應等。 |
| 結束 | 結束通話方,可以是發出通話者或接收通話者。 |
| 附件 | 附件包括:語音通話記錄、視訊通話記錄或語音信箱檔案。 |
本部份列出和定義所有CINNOX 通話狀態的指標。
| 指標 | 定義 |
|---|---|
| 通話結束 | 連接和完成通話,例如:撥號者或接收者完結的通話。 連接但終斷的通話,例如:網絡問題、服務擠塞以及未確定的錯誤。 |
| 已被拒絕 | 受話者拒絕通話。 |
| 忙碌中 | 受話者未能接聽通話。 |
| 沒有回應 | 受話者接聽通話後,沒有回應至到達通話時限。 |
| 已取消 | 受話者接聽通話前,通話已被掛斷。 |
| 捨棄 | 受話者已經接通通話,但來電方在以下情況,包括:在接通到互動語音回應(IVR)的功能表、語音信箱,以及員工保留通話時(轉接通話),掛斷通話。 |
| 無法接通 | 因以下原因,通話無法接通:受話者關上裝置、受話者沒有數據連接、受話者身處沒有數據提供的地方,以及服務擠塞。 |
| 通話失敗 | 通話失敗普遍與通話服務和網絡問題有關。 |



客戶或訪客留低的語音訊息。如有需要,可播放收聽或下載它到你的裝置裡。

在左面,詢問轉接或盲轉接的通話在左面,有一個向下的箭頭。按了向下的箭頭後,會展開詢問轉接或盲轉接的通話報告。
詢問轉接說明:
概括:
HK-webDesktop-228是撥號者,而陳歷珊是最後受話者,通話時間為3分鐘。
分解:

盲轉接說明:
概括:
訪客HK-webDesktop-228是來電方,而陳歷珊是最後受話者,通話時間為兩分鐘。
分解:

當客戶呼叫並被路由到IVR系統時,存在不同的呼叫場景。
客戶>IVR 系統>通話在IVR功能表中結束。
客戶>IVR 系統>路由到客服A>客服A或客戶結束通話。
客戶>IVR 系統>路由到客服A>通話轉移到客服B>客服B或客戶結束通話。
客戶>IVR 系統>路由到客服A>切換成通話會議>通話在通話會議中結束。
每一個在IVR系統進行的活動,在其結束後,均會記錄在通話詳細資訊和通話日誌中。


你可以按以下屬性,篩選通話報告:
| 篩選條件 | 描述 |
|---|---|
| 來電方 | 搜尋來電方名稱。 |
| 受話方 | 搜尋受話方名稱。 |
| 日期和時間 | 選擇通話日期,亦可以自訂日期和時間。預設日期和時間為最近7天。 |
| 通話類型 | 選擇通話類型:網路通話、網外通話,以及智慧撥號。預設為全部通話類型。 |
| 通話狀態 | 選擇通話狀態 - 詳細資料可參考通話狀態(指標)。預設為所有通話狀態。 |
| 員工角色 | 選擇員工角色: 管理員、主管、客服,以及自訂角色。預設為所有員工角色。 |
| 員工部門 | 選擇在你組織內建立的部門。預設為所有部門。 |
| 附件 | 選擇通話附件,例如:有附件、有通話錄音、有語音信箱,以及沒有附件。預設為所有附件。 |

👍
你可以根據所需的果,使用篩選器,查看通話數據。
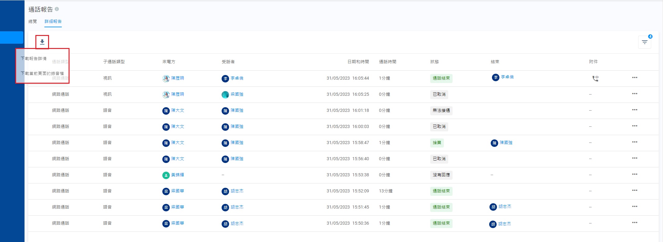
您可以下載 Excel 文件中的通話報告詳細信息,並將可用的錄音文件下載為壓縮文件夾中的音頻文件。 下載文件有兩種選擇:
A. 下載報告詳情 - 此選項以excel (XLS)檔案格式,下載所有通話記錄。
B. 下載當前頁面錄音檔 - 此選項是下載頁面的通話錄音,到一個zip檔案中。 每個諮詢都以MP3檔案格式下載。
📘
每頁最多只能顯示25項記錄。
要下載檔案:




Updated 4 months ago